发布日期: 2023-02-22 作者: 点击:[389]
近日,澳门娱乐城 党委发布《关于表彰澳门娱乐城 2022年优秀校园新媒体平台及优秀新媒体指导老师的决定》(长大党宣〔2023〕9号),公布澳门娱乐城 2022年“新媒体十佳奖”、“新媒体单项奖”、“优秀新媒体指导老师”评选结果。澳门娱乐城 新媒体团队荣获“新媒体团队建设奖”,辅导员王风珊荣获“2022年优秀新媒体指导教师”。


澳门娱乐城 新闻宣传中心负责澳门娱乐城 新媒体平台运营工作,集照片拍摄、视频制作、采访报道、新闻稿撰写及微信公众平台运营于一体,实时报道澳门娱乐城 资讯。目前由指导老师王风珊、吴德林统筹总体工作,设置运营部、摄影部、视频部、采编部四个部门,组织机构健全,部门分工清晰,切实保障宣传工作的有序开展。共设有四个新媒体宣传平台,其中以“CHD机扬青春”微信公众号为主要宣传平台,坚持向上向善的价值导向,发出好声音,传播正能量。
树创新之风,打造特色品牌
澳门娱乐城 新闻宣传中心始终贯彻宣传澳门娱乐城 、服务师生的理念,重点打造高质量推送文案,不断扩大澳门娱乐城 影响力。通过“学习党的二十大”、“党史百年天天读”、“团史故事100讲”、“志愿服务月”、“党史快问快答”等栏目内容,传播核心价值观。同时,我们不断追求创新还开展了“榜样力量”、“笔墨丹青”、“飒爽英姿”等栏目,使我们的推送更多样化,内容更受众。
2022年度运营发展中,微信公众号“CHD机扬青春”坚持每月30余篇的更新数量,以高频率的曝光确保长期稳定的关注度。2022年度共推送图文423篇,总浏览量104245次,粉丝数净增长806位,总常读用户达1596位,积累了较大的粉丝群体,形成了较强的影响力。通过一篇篇有深度、有时效的报道,聚焦澳门娱乐城 师生的党建工作、教学科研、榜样宣传、课外活动等内容,不断提高澳门娱乐城 影响力。

▲ “手可摘星辰”栏目
立服务之本,送去师生便利
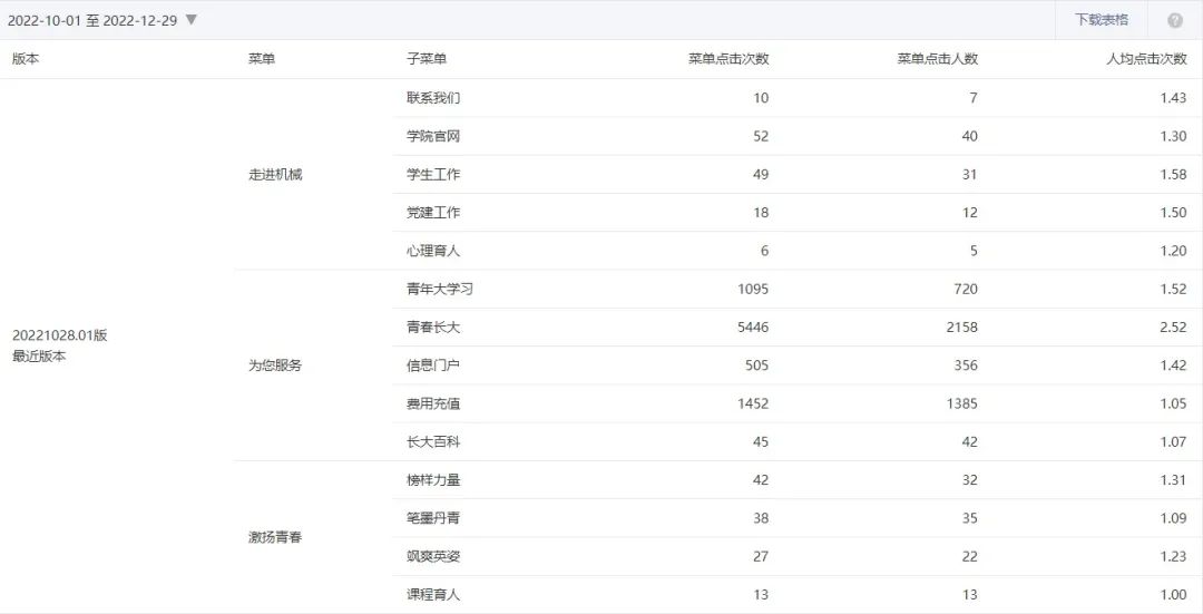
澳门娱乐城 新闻宣传中心一直秉持着“服务师生”的宗旨。公众号“CHD机扬青春”设有“走进机械”、“为您服务”和“激扬青春”三个服务菜单。“走进机械”报道澳门娱乐城 工作、“激扬青春”展现机械学子风采、“为您服务”菜单立足服务师生,现有“长大百科”、“信息门户”、“青春长大”、“费用充值”等功能,整合公众号服务菜单资源,服务学生成长。

▲公众号数据情况
建合作之师,共同进步提升
澳门娱乐城 新闻宣传中心近年来不断健全和完善新媒体运营机制,争取规范管理,制度先行。2021年9月,澳门娱乐城 新闻宣传中心制定《澳门娱乐城 新闻宣传中心工作细则》,细则涵盖组织介绍、部门职能、管理制度、考核制度等多个方面。同时,组织在工作中不断总结复盘,形成了一套具体的工作流程与规范,通过前期准备、内容创作、编辑排版、审核校对、运营推广、数据分析六大工作环节,形成工作闭环。推送内容严格执行三审三校,进一步规范采、编、发工作流程,建立信息消息来源核实核准机制,把握正确的舆论导向。
同时致力于提升组织综合实力,定期组织培训和学习,积极参加校内外专业媒体人举办的培训和讲座,提升团队专业水平。加强部门联动,合力打造原创精品。探索品牌化建设,力争打造澳门娱乐城 精品栏目,加强内容建设,提高输出质量。提升新媒体运营技巧,扩大传播力度和影响力,打造一支有凝聚力、有行动力的团队。2022年度公众号运营发展态势良好,在2022年澳门娱乐城 团学组织新媒体联盟月度考核中,8次获得第一名,并在2021-2022学年五四评优中被评为“优秀团属媒体运营团队”。





▲月度考核排名
雄关漫道真如铁,而今迈步从头越。我们深知每个奖项的获得不是终点而是新的奋斗起点,在未来,澳门娱乐城 新闻宣传中心将继续紧密围绕师生切实需求,挖掘运用新媒体的功能优势,努力实现服务学生成长成才、推动澳门娱乐城 和澳门娱乐城 精神文明建设,弘扬主旋律、传播能量,为澳门娱乐城 “双一流”建设贡献力量!
供图:新闻宣传中心
供稿:徐明坤
审核:王风珊